【導讀】“新基建”的加快部署疊加疫情催生的應用需求,工業互聯網迎來了一輪新的發展高潮。作為工業互聯網創新升級的關鍵,工業以太網如何在惡劣的環境下保證其穩健性和靈活性是目前的主要挑戰。
工業應用為什么要采用以太網?
越來越多的工業系統采用以太網連接來解決制造商面臨的工業4.0和智能工廠通信關鍵挑戰,包括數據集成、同步、終端連接和系統互操作性挑戰。以太網互聯工廠通過實現信息技術(IT)與操作技術(OT)網絡之間的連接,可提高生產率,同時提高生產的靈活性和可擴展性。這樣,使用一個支持時限通信的無縫、安全的高帶寬網絡便可監控工廠的所有區域。
規模計算和可靠的通信基礎設施是互聯工廠的命脈。當今的網絡面臨著流量負載不斷增長以及眾多協議之間互操作性的挑戰,這些協議需要使用復雜且耗電的網關來轉換整個工廠的流量。通過向工廠邊緣終端無縫交付關鍵的確定性性能,工業以太網可解決同一網絡中的這些互操作性問題。過去一直缺乏專為可靠的工業環境設計的適用以太網物理層(PHY)。長期以來,工業通信設備的設計人員不得不使用針對大眾市場開發的消費級標準以太網PHY。在工業4.0時代,終端節點的數量正在加速增長,確定性對于實現互聯工廠極其重要,因此增強的工業級工業以太網PHY至關重要。
IT與OT以太網連接
由于以太網是受到廣泛支持的、可擴展、靈活的高帶寬通信解決方案,所以一直以來都是IT領域的通信之選。此外,它還具有IEEE標準帶來的互操作性優勢。然而,實現IT和OT網絡之間的 連接以及基于以太網技術的無縫連接面臨著一個關鍵挑戰,那就是如何在要求時限連接的惡劣工業環境下進行部署。
工業以太網應用和以太網部署挑戰
圖1顯示了智能工廠中基于工業以太網連接的互聯移動應用。多軸同步和精密運動控制對于在智能工廠中實現高質量生產和加工至關重要。隨著對生產能力和輸出質量的要求越來越高,伺 服電機驅動器也需要更快的響應時間和更高的驅動精度。系統性能提高要求終端設備中使用的伺服電機軸更緊密地同步。實時100Mb以太網廣泛用于當今的運動控制系統。但是,同步僅涉及網絡主機和從機之間的數據通信。

圖1. 通過工業以太網實現的互聯移動應用。
網絡需要支持跨網絡邊界同步到應用,從低于1 μs的時間到伺服電機控制內的PWM輸出。這提高了多軸應用的加工和生產精度,如采用更高數據速率的千兆工業以太網和IEEE 802.1時間敏感網絡(TSN)的機器人和數控機床。利用實時工業以太網協議,所有設備均可連接到一個高帶寬聚合網絡,以實現邊緣到云連接。
在工業環境中,部署以太網的網絡安裝人員面臨的主要挑戰就是穩健性和較高的環境溫度。較長的電纜敷設路徑周圍存在來自電機和生產設備的高壓瞬變,從而可能會損壞數據和設備。為成功部署工業以太網(如圖1所示),需要一種增強型以太網PHY技術,要求性能穩定可靠,低功耗、低延遲,采用小型封裝,并且可以在嘈雜的高溫環境下工作。本文將討論在互聯工廠中部署以太網PHY解決方案所面臨的挑戰。
何為工業以太網物理層?
工業以太網PHY是一種物理層收發器器件,根據OSI網絡模式收發以太網幀。在OSI模式中,以太網覆蓋第1層(物理層)和第2層(數據鏈路層)的一部分,并由IEEE802.3標準定義。物理層指 定電信號類型、信號速度、介質和網絡拓撲。它實施1000BASE-T(1000 Mbps)、100BASE-TX(100 Mbps,銅纜)和10BASE-T (10 Mb)標準的以太網物理層部分。
數據鏈路層指定如何通過介質進行通信,以及傳輸和接收消息的幀結構。這僅僅意味著位如何從電線上分離出來并進入位排列,以便從位流中提取數據。對于以太網,這稱為介質訪問控制 (MAC),將集成至主機處理器或以太網交換機中。例如,fido5100和fido5200這兩款ADI嵌入式、雙端口工業以太網嵌入式交換機,用于支持多協議、實時工業以太網設備連接的第2層連接。
工業應用的以太網物理層要求
1:功耗和較高的環境溫度
工業應用中的以太網互聯設備通常封裝在IP66/IP67密封外殼中。IP等級是指電氣設備對水、污垢、灰塵和沙子的耐受力。IP后面的第一個數字是IEC分配的防固體等級。在這里,6意味著與物 質直接接觸8小時后,無有害的灰塵或污物滲入設備中。隨后是防水等級6和7。6意味著可在強大的噴射流中防止水滲入,而7意味著設備可浸入1米深的淡水中30分鐘。
使用這些密封外殼后,由于外殼的導熱能力下降,以太網PHY設備面臨的兩個主要挑戰就是功耗和較高的環境溫度。部署工業以太網時,需要使用工作溫度高達105且功耗極低的以太網PHY 設備。
典型的工業以太網網絡采用線性和環形拓撲進行部署。與星形網絡相比,這些網絡拓撲減少了布線長度,且在環形網絡中留有冗余路徑。連接至線性或環形網絡的每個設備都需要兩個以 太網端口,以便沿網絡傳遞以太網幀。在這些用例中,以太網PHY功耗變得更為重要,因為每個互聯設備都有兩個PHY。千兆PHY功耗對總功耗有重大影響,而低功耗PHY可以為設備中的FPGA/處理器和以太網交換機提供更多的可用功耗預算。
我們來看圖2中的示例,設備的功耗預算為2.5 W,包括FPGA、DDR存儲器和需要1.8 W功耗預算的以太網交換機。這樣,兩個PHY的可用功耗預算僅剩下700 mW。為滿足設備的散熱要求,需使用功耗<350 mW的Gb PHY。當今市場上只有少數PHY滿足這一功耗要求。

圖2. 低功耗工業以太網PHY設備。
2:EMC/ESD穩健性
在生產設備噪音會產生高壓瞬變和設備安裝人員和操作人員可能帶來靜電放電事件的惡劣工廠條件下,工業網絡的電纜敷設路徑可能長達100米。因此,穩健可靠的物理層技術對于工業以太網的成功部署至關重要。
工業設備通常需要滿足下述EMC/ESD IEC和EN標準:
● IEC 61000-4-5浪涌
● IEC 61000-4-4電快速瞬變脈沖群(EFT)
● IEC 61000-4-2 ESD
● IEC 61000-4-6射頻場感應的傳導抗擾度
● EN 55032電磁輻射騷擾
● EN 55032傳導騷擾
產品通過這些標準認證的相關成本比較高,如果需要進行設計迭代來滿足其中任何一個標準,那么新產品的推出通常會延遲。使用已經通過IEC和EN標準測試的PHY設備可顯著降低新產品 開發成本和風險。
3:以太網PHY延遲
對于需要實時通信的應用(如圖1所示),進行精確的運動控制非常重要,PHY延遲亦會是一個重要的設計規范,因為它是整個工業以太網網絡周期時間的關鍵部分。網絡周期時間是控制器 收集和更新所有器件的數據所需的通信時間。降低網絡周期時間可在時限通信中實現更高的應用性能。低延遲以太網PHY有助于最大限度地減少網絡周期時間,允許更多器件連接到網絡。
由于線性和環形網絡需要兩個以太網端口將數據從一個設備傳輸至下一個設備,所以對于有兩個端口(數據輸入端口/數據輸出端口)的設備,以太網PHY延遲的影響也會翻倍,見圖3。在 一個擁有32臺設備的網絡(64 PHY)中,如果PHY延遲降低25%,那么這一工業以太網PHY延遲的降低將對可連接的節點數量和工業以太網網絡性能(周期時間)產生顯著的影響。

圖3. 工業以太網網絡中的以太網PHY延遲。
4:以太網PHY數據速率可擴展性
采用支持不同數據速率的工業以太網PHY設備亦非常重要:10 Mb、100 Mb和1 Gb。PLC和運動控制器之間的連接需要高帶寬的千兆(1000BASE-T) TSN以太網連接。現場級連接采用在100 Mb (100BASE-TX)PHY中運行工業以太網協議的以太網連接。對于終端節點/邊緣節點連接,IEEE 802.3cg/10BASE-T1L中有一個新的物理層標準,支持在長達1千米的單根雙絞線電纜上以10 Mb帶寬采用低功耗以太網PHY技術,并且可用于過程控制中的本質安全應用。參見圖4,了解過程控制以太網連接和可擴展以太網PHY數據速率(從PLC到終端節點執行器和現場儀器儀表)的需求。

圖4. 過程控制,無縫云端連接技術。
5:解決方案尺寸
隨著以太網技術向工業網絡邊緣擴散,互聯節點的尺寸變得越來越小。以太網互聯傳感器/執行器的產品尺寸可以非常小,因此需要將PHY置于專為工業應用開發的小封裝內。事實證明,引 腳間距為0.5毫米的LFCSP/QFN封裝較為可靠,無需昂貴的PCB制造流程,而且底部裸露焊盤可用于較高的環境溫度條件下,從而增加了功耗。
6:產品耐久性
產品壽命是工業設備制造商關心的一個問題,因為其設備通常可在現場使用15年以上。所以產品停產意味著需要重新設計新產品,這會帶來高成本,而且非常耗時。工業以太網PHY設備必 須具有較長的產品壽命,而消費電子、大眾市場、以太網PHY供應商通常不支持這種產品。
?適合可靠的工業以太網應用的工業以太網PHY要求概覽
表1. 消費電子與工業以太網PHY要求

表2. ADIN1200和ADIN1300特性

表3. ADIN1300穩健型工業以太網Gb PHY EMC/ESD穩健性測試

ADIN1300:EMC/ESD功能性能分類:
● A類
○ 鏈接不會斷開。
○ 連續丟失或錯誤的數據包不會超過兩個。*
○ 系統必須正常運行,且在應力測試后無錯誤,無需用戶干預。
● B類
○ 鏈接不會斷開
○ 允許數據包丟失和出現錯誤的數據包。
○ 系統必須正常運行,且在應力測試后無錯誤,無需用戶干預。
● C類
○ 在測試和/或系統需要用戶干預時,鏈接斷開。例如,在應力測試后重置或重啟以恢復正常運行。
*請注意,功能測試軟件無法確定問題包是否是連續的。
新型工業以太網PHY技術
ADI最近發布了兩款全新的工業以太網PHY,可在環境溫度高達105°C的惡劣工業條件下可靠運行。ADI一直致力于工業終端市場應用,確保為工業應用開發生產壽命較長的新產品。針 對本文所述挑戰而專門開發的ADIN1300和ADIN1200具有如下增強的PHY特性:
● 增強的鏈接斷開檢測,可在10 µs內檢測到鏈接斷開
○ 實時工業以太網協議要求(如EtherCAT®)
● 數據包起始檢測支持IEEE 1588時間戳
○ 整個網絡要求實現精確的時序
● MDI引腳提供增強ESD保護
○ RJ-45接頭具有ESD穩健性
● PHY啟動時間:< 15 ms
○ 從電源狀態良好到管理接口/寄存器可用的時間
● 片內電源監視器
○ 提高了上電時的系統穩定性
ADIN1300是業界具有出色的功耗、延遲和封裝尺寸特性的10Mbps/100 Mbps/1000 Mbps工業以太網PHY,其EMC和ESD穩健性已經過廣泛測試,可在高達105°C的環境溫度下運行。ADIN1300 PHY已通過EMC/ESD標準測試,如表3所示。通過使用已通過IEC和EN標準廣泛測試的以太網PHY技術,可顯著降低產品合規性測試和認證的相關成本和時間。
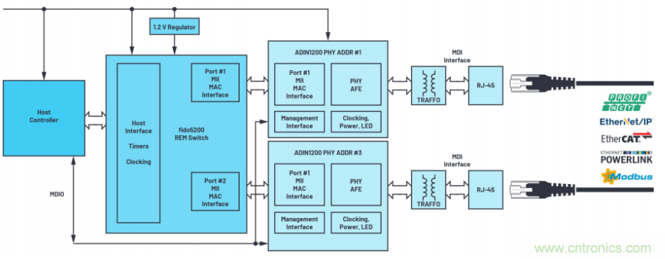
ADIN1200低功耗10 Mbps/100 Mbps穩健型工業以太網PHY已經過廣泛的EMC和ESD穩健性測試,可在高達105°C的環境溫度下運行。帶fido5200的ADIN1200為多協議、實時工業以太網設備連接提供系統 級解決方案,支持Profinet®, EtherNet/IP™、EtherCAT、Modbus TCP和Powerlink實現嵌入式雙端口設備連接,如圖5所示。

圖5. 帶有fido5200的ADIN1200,用于實時多協議工業以太網器件連接。
?支持Beckhoff EtherCAT和EtherCAT G工業以太網協議
ADIN1200 PHY滿足EtherCAT工業以太網協議的所有要求,并包含在EtherCAT PHY選型指南中。ADIN1300 PHY滿足EtherCAT G工業以太網協議的所有要求,并包含在EtherCAT G PHY選型指南中。更多詳情,請參見Beckhoff的應用筆記——PHY選型指南。
客戶支持
提供用于ADIN1300和ADIN1200的客戶評估板,以及用于加快評估的軟件GUI。有關應用板軟件GUI功能的視頻教程,參見analog.com 的ADIN1300和ADIN1200產品頁面。圖6顯示了應用電路板和軟件GUI。

圖6. ADIN1300和ADIN1200客戶評估板和軟件GUI。
總結
為實現IT和OT網絡的無縫連接,實現工業4.0的價值,針對工業應用而設計的增強物理層技術是一個關鍵的設計選擇。穩健型工業以太網PHY技術可解決功耗、延遲、解決方案尺寸、105°C環 境溫度、穩健性(EMC/ESD)和較長產品壽命問題,是實現互聯工廠的基礎。為解決本文所述挑戰,ADI近期推出了兩款全新的穩健型工業以太網PHY,即ADIN1300(10 Mbps/100 Mbps/1000 Mbps)和ADIN1200(10 Mbps/100 Mbps/1000 Mbps)。
推薦閱讀:



