【導讀】隨著電子設備在家庭、辦公室和工業中的普及,對高速、緊湊、低成本、可復位和可調節電路保護器件的需求越來越重要,以確保用戶安全和最長的正常設備運行時間。傳統熔斷方法的熔斷電流不準確、響應時間慢,而且通常保險絲更換不方便。
隨著電子設備在家庭、辦公室和工業中的普及,對高速、緊湊、低成本、可復位和可調節電路保護器件的需求越來越重要,以確保用戶安全和最長的正常設備運行時間。傳統熔斷方法的熔斷電流不準確、響應時間慢,而且通常保險絲更換不方便。
雖然從頭設計一個合適的保護方案是可以的,但要在可重置的設備中滿足苛刻的延遲和精度要求并非易事。此外,同樣的解決方案現在也有望具備可調過流保護、可調浪涌電流壓擺率、過壓鉗位、反向電流阻斷和熱保護等功能。這種設計需要大量的分立元件和數個 IC,這樣不僅會占據 PC 板的上很大面積,提高成本,還會延遲上市時間。不斷增加難度是為了滿足高可靠性要求,滿足諸如 IEC/UL62368-1 和 UL2367 等國際安全標準要求。
為此,設計人員可以轉向使用電子保險絲 (eFuse) IC 來提供納秒 (ns) 級短路保護,這比傳統的保險絲或 PPTC 器件要快一百萬倍。
本文在介紹 eFuse 及其工作原理之前,說明為什么需要更快速、更堅固、更緊湊、更可靠和更經濟的電路保護。然后,介紹 Toshiba Electronic Devices and Storage Corporation 提供的幾種 eFuse,并說明這些器件在經濟實惠、結構緊湊和堅固耐用方面是如何滿足設計者的電路保護需求的。
電路保護需求
過電流狀況、短路、過載和過電壓是電子系統的一些基本電路保護需求。過流狀態下,會有過量的電流流經導體。這可能會導致高水平發熱、火災或設備損壞的風險。短路、過載、設計故障、部件故障以及電弧或接地故障都可能造成過流故障。為了保護電路和設備用戶,過流保護需要瞬時動作。
存在過載時,過大的電流不會立即產生危險,但長期過載造成的后果與高過流同樣不安全。過載保護是根據過載程度通過各種時間延遲來實現的。隨著過載情況的加重,延遲會隨之縮短。過載保護可以用延遲或慢速保險絲來實現。
過電壓情況會導致系統運行不穩定,還可能導致產生過多熱量,增大火災風險。過電壓也會給系統用戶或操作員帶來直接危險。與過電流一樣,過壓保護也需要快速動作,切斷電源。
為確保運行安全、穩定,有些應用受還益于除基本保護功能以外的其他保護功能,具體包括可調級別的過壓和過流保護、啟動涌流控制、熱保護和反向電流阻斷功能。各種不同的電路保護裝置可以滿足這些保護功能的不同組合需求。
eFuses 如何工作
與傳統保險絲和 PPTC 器件相比,eFuse IC 實現了更廣泛的保護功能和更高的控制水平(圖 1)。除高速短路保護外,eFuse 還提供精確的過壓箝位、可調過流保護、可調電壓和電流壓擺率控制,以便盡可能減少浪涌電流和熱關斷。各個不同的版本還包括內置反向電流阻斷功能。
圖 1:eFuse 可以取代傳統保險絲或 PPTC 設備,并具有更多的保護功能和更高的控制水平。(圖片來源:Toshiba)
eFuse 性能的關鍵因素之一是內部功率 MOSFET,其“導通”電阻通常在毫歐 (mΩ) 范圍內,并能處理高輸出電流(圖 2)。正常工作期間,功率 MOSFET 的極低導通電阻確保 VOUT 端電壓與 VIN 端電壓幾乎相同。當檢測到短路時,MOSFET 會非常迅速斷開,而當系統恢復正常時,MOSFET 則用來控制浪涌電流。
圖 2:低導通電阻功率 MOSFET(頂部中心)是 eFuse 實現快速動作和受控啟動能力的關鍵。(圖片來源:Toshiba)
除了功率 MOSFET 之外,eFuse 的有源性質也有助于實現眾多的性能優勢(表 1)。傳統保險絲和 PPTC 是無源器件,跳閘電流的精度很低。它們都依靠焦耳加熱且耗費時間,從而增加了其反應時間。另一方面,eFuse 會不斷監測電流,一旦電流達到可調限流值的 1.6 倍,就會啟動短路保護。一旦啟動,eFuse 的超高速短路保護技術只需 150 至 320 納秒即可將電流降至接近零,而保險絲和 PPTC 的反應時間則為 1 秒或更長。這種快速反應時間減少了系統應力,從而增強了穩健性。由于 eFuse 電子保險絲不會被短路破壞,因此可以多次使用。
表 1:與保險絲和 PPTC(聚合開關)器件相比,eFuse IC 的保護速度更快、精度更高、保護功能更全。(表格來源:Toshiba)
與作為一次性設備的傳統保險絲相比,eFuse 有助于降低維護成本,縮短恢復和維修時間。eFuse 有自動恢復和鎖定保護兩種故障恢復方式:前者是在故障條件消除后自動恢復正常運行,后者是在故障消除后被施加外部信號時恢復。eFuse 還提供過壓和熱保護,這對傳統保險絲或 PPTC 來說是不可能的。
選擇 eFuses
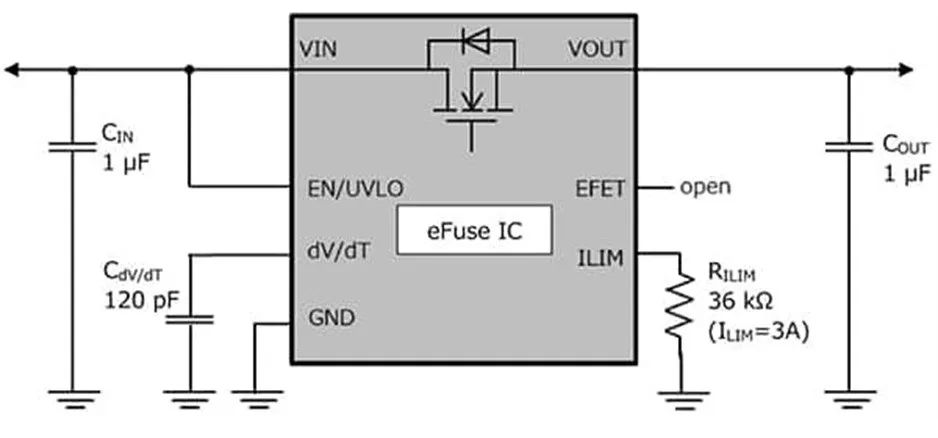
選擇合適的 eFuse 通常要從應用的電源軌開始。對于 5 至 12 伏電源軌,TCKE8xx系列 eFuse是不錯的選擇。該系列的額定輸入電壓高達 18 V,電流 5 A,通過了 IEC 62368-1 認證,符合 UL2367 要求,采用 WSON10B 封裝,尺寸為 3.0 mm x 3.0 mm x 0.7 mm 高,間距為 0.5 mm(圖 3)。
圖 3:Toshiba 的 eFuses 采用 3 mm x 3 mm、0.7 mm 高的 WSON10B 表面貼裝封裝。(圖片來源:Toshiba)
對于設計者來說,TCKE8xx 系列提高了靈活性,包括由外部電阻設置調節過流值、由外部電容設置調節壓擺率控制,提供過壓和欠壓保護、熱關斷功能以及一個針對選用型外部反向電流阻斷 FET 的控制引腳。
設計者還可以選擇三種不同的過壓鉗位:用于 5 V 系統的 6.04 V 鉗位(例如 TCKE805NL, RF),用于 12 V 系統的 15.1 V鉗位(包括 TCKE812NL, RF),以及無鉗位電壓(例如 TCKE800NL, RF)(圖 4)。根據不同的型號,過壓保護分為自動重試和鉗位兩種方式,鉗位水平的設定精度為 7%。欠壓鎖定可通過一個外部電阻設定。熱關斷可在 eFuse 的溫度超過 160℃ 時將其斷開,從而保護 IC 免受超溫影響。具有自動恢復熱保護的型號在溫度下降 20°C 時重新啟動。
圖 4:TCKE8xx 系列電子保險絲包括多種型號,鉗位電壓為 6.04 V 的 TCKE805 適用于 5 V 系統,鉗位電壓為 15.1 V 的 TCKE812 適用于 12 V 系統,而 TCKE800 則沒有鉗位電壓。(圖片來源:Toshiba)
為確保穩定運行,這些 eFuse 具有供設計者在啟動時設置電流和電壓斜率的選項(圖 5)。當接通電源時,巨大的浪涌電流會流入輸出電容并使 eFuse 跳閘,從而導致運行不穩定。eFuse 的 dV/dT 引腳上的外部電容器可用來設定電壓和電流的啟動斜坡,以防止出現無跳閘。
圖 5:設計者可以設置電壓和電流的啟動斜坡,以確保eFuse 穩定運行。(圖片來源:Toshiba)
根據應用要求,設計者可以添加一個外部 N 溝道功率 MOS,用于阻斷反向電流;添加一個瞬態電壓抑制 (TVS) 二極管,用于輸入瞬態電壓保護;添加一個肖特基勢壘二極管 (SBD),用于 eFuse 輸出的負電壓尖峰保護(圖 6)。反向電流阻斷在熱插拔式磁盤驅動器和電池充電器等應用中非常有用。外部 MOSFET 通過 EFET 引腳控制。
在電源總線上會出現超過 eFuse 最大額定值的瞬時電壓的系統中,需要添加 TVS 二極管。在有些應用中,eFuse 的輸出端可能會出現負電壓尖峰,而選用型 SBD 可以保護負載側的 IC 和其他設備以及 eFuse 本身。Toshiba 推薦將 SSM6K513NU, LF 作為外部 MOSFET,DF2S23P2CTC, L3F 作為 TVS 二極管,而 CUHS20S30, H3F 作為 SBD。
圖 6:TCKE8xx 系列 eFuse 的典型應用顯示了用于輸入瞬態電壓保護的可選 TVS、用于輸出引腳負電壓尖峰保護的 SBD 以及用于阻斷反向電流的外部 MOSFET。(圖片來源:Toshiba)
內置反向電流阻斷 MOSFET 的 eFuse
對于要求解決方案盡可能小且具有反向電流阻斷功能的應用,設計者可以使用具有兩個內部 MOSFET 的 TCKE712BNL, RF eFuse(圖 7)。第二個內部 MOSFET 沒有任何性能損失;兩個 MOSFET 的合并導通電阻只有 53 mΩ,與使用外部阻斷 MOSFET 時差不多。
圖 7:TCKE712BNL, RF eFuse 包括兩個 MOSFET(頂部中間),可實現反向電流阻斷,無需外部 MOSFET。(圖片來源:Toshiba)
與 TCKE8xx 系列的固定電壓設計相比,TCKE712BNL, RF 的輸入電壓范圍為 4.4 至 13.2 V。為了支持這種可能的輸入電壓范圍,該器件有一個過壓保護 (OVP) 引腳,使設計者能夠設置過壓保護水平,以適應特定的系統需求。此外,TCKE712BNL還增加了一個 FLAG 引腳,用于提供開漏信號輸出,表明存在故障狀況。
結語
確保電子系統的電路和用戶保護功能至關重要,在目前設備激增、故障可能性增加的情況下尤其如此。同時,設計者必須將成本和封裝降到最小,同時還要具有最大的保護靈活性,滿足適當的保護標準。
eFuse具有超快的動作速度、出色的精確性、可靠性和可重復使用性。這類器件性能優良、高度靈活,不僅成為傳統保險絲和 PPTC 器件的替代品,而且還具有多種內置功能,可大大簡化電路和用戶保護的設計工作。
(作者:Jacob Beningo,來源:得捷電子DigiKey微信公眾號)
免責聲明:本文為轉載文章,轉載此文目的在于傳遞更多信息,版權歸原作者所有。本文所用視頻、圖片、文字如涉及作品版權問題,請聯系小編進行處理。
推薦閱讀:
千兆多媒體串行鏈路(GMSL)相機用作GigE Vision相機的替代方案
意法半導體推出車規人工智能慣性測量單元,適合環境溫度高達125°C的始終感知應用






