中心議題:
- 介紹幾款容易制作成功的小功率發射電路
- 單聲道調頻發射電路設計
- 發射三極管多采用D40,D5O,2N3866等
- 采用電容三點式振蕩器
本文較詳盡地介紹了頗有代表性的幾款業余情況下容易制作成功的88~108MHz調頻廣播范圍內的小功率發射電路,其中有簡易的單管發射電路,也有采用集成電路的立體聲發射電路。主要用于調頻無線耳機、電話無線錄音轉發、遙控、無線報警、監聽、數據傳輸及校園調頻廣播等。
單聲道調頻發射電路

圖1是較為經典的1.5km單管調頻發射機電路。電路中的關鍵元件是發射三極管,多采用D40,D5O,2N3866等。工作電流為60--80mA。但以上三極管難以購到,且價格較高,假貨較多。筆者選用其他三極管實驗,相對易購的三極管C2053和C1970是相當不錯的,實際視距通信距離大于1.5km。筆者也曾將D40管換成普通三極管8050,工作電流有60--80mA,但發射距離達不到1.5km,若改換成9018等,工作電流更小,發射距離也更短,電路中除了發射三極管以外;線圈L1和電容C3的參數選擇較重要,若選擇不當會不起振或工作頻率超出88--108MHz范圍。其中L1,L2可用0.31mm的漆包線在3.5mm左右的圓棒上單層平繞5匝及10匝,C3選用5-20pF的瓷介或滌綸可調電容。實際制作時,電容C5可省略,L2上也可換成10-100mH的普通電感線圈。若發射距離只要幾十米,那么可將電池電壓選擇為1.5-3V,并將D40管換成廉價的9018等,耗電會更少,也可參考《電子報》2000年第8期第五版(簡易遠距離無線調頻傳聲器)一文后稍作改動。圖1介紹的單管發射機具有電路簡單,輸出功率大,制作容易的特點,但是不便接高頻電纜將射頻信號送至室外的發射天線,一般是將0.7--0.9m的拉桿天線直接連在C5上作發射的,由于多普勒效應,人在天線附近移動時,頻漂現象很嚴重,使本來收音正常的接收機聲音失真或無聲。若將本發射機作無線話筒使用,手捏天線時,頻漂有多嚴重就可想而知了。

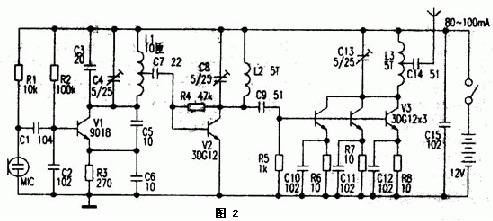
圖2為2km調頻發射機電路。本電路分為振蕩、倍頻、功率放大三級。電路中V1、C2--C6、R2、R3及L1組成電容三點式振蕩器,其振蕩頻率主要由C3、C4和L1的參數決定,其振蕩頻率為44~54MHz,該信號從L1的中心抽頭處輸出,再經過C7耦合至V2放大,由C8和L2選出44~54MHz的二倍頻信號,即88-108MHz,,此信號由C9耦合至V3進行功率放大,V3由3只3DGl2三極管并聯組成,可擴大輸出功率。該電路正常工作時,電流約80-100mA。組成V3的三只3DG12可加上適當的散熱片,以防過熱。制作時L1~L3用0.31mm漆包線在直徑3.5mm圓棒上單層平繞。

[page]
圖3為一種實用的50m調頻型無線耳機發射部分電路。該電路分為振蕩和信號放大部分。L1、C2-C5、V1等組成與黑白電視機高頻頭本振電路類似的改進型電容三點式振蕩器,頻率穩定性好,長時間工作不跑頻,實踐證明,業余情況下,采用該改進型的電容三點式振蕩器完全能勝任。筆者用電烙鐵直接烙焊V1的集電極數秒鐘后,在三極管的溫度很高的情況下,用普通收音機接收仍很正常,無跑頻現象。振蕩器的頻率主要由L1和C2決定,通過微調L1,可以覆蓋88-108MHZ范圍。音頻信號經R6、C11耦臺至V1的基極,V1的e、b極間電容隨音頻電壓的變化而引起振蕩頻率的變化,實現頻率調制。該電路中L,~L3用0.31mm漆包線在中3.5mm圓棒上單層平繞。誦過調整L1匝間間距微調振蕩頻率,再微調L2、L3的匝間間距以諧振子振蕩頻率,獲得最大輸出功率。

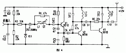
圖4為晶振式發射機電路。電路中J.、VD1、L1、C3~C5、V1組成晶體振蕩電路。由于石英晶體J的頻率穩定性好,受溫度影響也較小,所以廣泛用于無繩電話及AV調制器中。Vl是29~36MHz晶體振蕩三極管,發射極輸出含有豐富的諧波成分,經V2放大后,在集電極由C7、L2構成諧振于88-108MHz的網絡選出3倍頻信號(即87~108MHz的信號最強),再經V3放大;L3、C9選頻后得到較理想的調頻頻段信號。頻率調制的過程是這樣的,音頻電壓的變化引起VD1極間電容的變化;由于VD1與晶體J串聯,晶體的振藩頻率也發生微小的變化,經三倍頻后,頻偏是29-36MHz晶體頻偏的3倍。實際應用時,為獲得合適的調制度,可選擇調制頻偏較大的石英晶體或陶瓷振子,也可以采用電路稍復雜的6-12倍頻電路。若輸入的音頻信號較弱;可加上一級電壓放大電路。
由于1.5km調頻發射機(見圖1)采用電容三點式振蕩器,天線參數稍微變動時,都將發生跑頻現象,再則,由于是單管自激振蕩發射,工作電流較大,當工作數秒鐘至數分鐘后,三極管的溫度升高引起極間電容發生變化,也會帶來振蕩頻率的改變(一般情況下是振蕩頻率降低),有時頻漂竟達0.2--1MHz。用作調頻廣播或遠距離遙控報警時工作可靠性較差,但元件少,成本低,調試容易,適合初級愛好者作發射實驗。2km調頻發射機(見上期附圖2)采用振蕩、倍頻、功率放大三級電路,級間相對獨立,頻率的穩定度優于單管自激振蕩發射的1.5km發射機,但開機數分鐘后,仍有0.2-0.4MHz的頻漂,這主要是由于V3的工作電流較大,溫升高,引起極間電容發生變化,此變化通過C9引起C8與L2組成的諧振網絡參數發生變化,加之V2溫度升高后也引起C8與L2組成的諧振網絡參數發生變化,此變化通過C7傳遞給C3、C4、L1、C5、C6、V1等組成的主振級,最終使振蕩頻率也發生變化(一般情況下也是振蕩頻率降低),實驗時可加強三極管的散熱,減小級間耦合,可將C9、C7的容量減小,同時選擇受溫度影響較小的晶體管、電阻、電容等,但頻漂仍較嚴重。上期附圖3所示的無線耳機發射器,由于采用了改進型電容三點式振蕩器,較圖1、圖2所示的發射機的頻率穩定,在電視無線耳機等保真度要求不是很高的場合很適宜。上期附圖4所示的晶體振蕩式發射機由于采用了晶體,所以頻率穩定性很好,但應用于調頻廣播和無線耳機時,調制的頻偏較LC振蕩器小得多,在用收音機收聽時,音量較小,聲音不圓潤,一般更適合頻偏較小的無繩電話及對講機等電路中。聲表振子已廣泛用于各種無線遙控及無線數據傳輸設備的發射機中,但頻率在88~108MHz的聲表振子難以購到,而各種性能優秀的頻率合成的發射機制作比較麻煩,有興趣者可參考(電子報)2000年第41期第五版(TGF-10型調頻廣播發射機數字頻率合成器調制單元電路剖析)一文,該廣播級發射機采用通用的摩托羅拉頻率合成器專用芯片MCl45152P作為核心,通過外接撥碼開關可獲得84~108MHz的高穩定度頻率。調頻立體聲發射機(電路見圖5)本電路的核心器件為立體聲專用芯片BAl404。
很多調頻立體聲模塊均將BAl404和外圍元件封裝在一個塑料或金屬外殼內制成,只露出電源輸入、音頻輸入、射頻輸出引線,只要了解BAl404以后,就知道調頻立體聲模塊內部是怎么一回事了。來自音源的立體聲音頻信號經R1、R2、R5、C1、C3、C5(R4、R3、R6、C2、C4、C6)組成的網絡耦合到BAl404。經IC內部左(右)聲道放大,再進行平衡調制,調制后的復合信號從IC的第14腳輸出,后與第13腳上的導頻信號通過B9、C15,B10、C16、C17構成的網絡進行混頻,混頻后的復合信號進入IC的12腳,對比的⑧、⑨、⑩腳,C20--C22及髓組成的電容三點式振蕩器進行調頻,IC的⑩腳上已調制的射頻信號經內部放大后從第⑦腳輸出,經C18、L2選頻后送至天線TXl。要實現調頻立體聲,BAl404的⑤、⑥腳需外接38kHz晶體,但業余制作時的確很難購得38kHz的專用晶體,所以在無該晶體的情況下,可以參考虛線內的電路,用分立元件制作一個38kHz振蕩器,該38kHz信號經過R8、C10送人IC第⑤腳。制作時,Ll可用收音機中頻變壓器ITF—2—1、TTF-2-2或TFF-2-9等,同時注意引腳的連接不要搞錯,③腳接地,②腳接V1的發射極,①腳為反饋和輸出腳。通過調整其磁芯可以獲得頻率較穩定、幅度足夠高的38kHz信號。
特別值得注意的是,C8宜選0.33uF的滌綸電容,不宜選擇瓷片電容,因為瓷片電容的穩定性較差,容易出現振蕩頻率不穩,調頻立體聲工作不正常的現象。由于BAl404的高頻蕩是電容三點式振蕩器,所以頻率的穩定性較差,于是本電路不用原來的高頻振蕩器,改用外接頻率較穩的改進型電容三點式振蕩器的方法,可滿足業余調頻廣播和調頻無線耳機的要求。如ZN-2001型調頻立體聲無線耳機的發射部分就采用了改進后的電容三點式振蕩電路。立體聲復合信號經V2電壓放大后,通過C26、R14直接加在V3基極實現頻率調制。其特點是根據用戶需要,可以用螺絲刀在機殼外調整L4的電感量,使其能在88~108MHz范圍內自由調節,避開當地調頻廣播電臺的頻率。該機另一特點是:電路板上巳留有1--5W功率擴展部分,如校園廣播時就可將該部分的元件裝上,調試后即可投入使用。但值得注意的是,若該無線耳機在增加功率后,仍然采用機上的鞭狀天線發射;則強烈的射頻信號將產生自身干擾;造成聲者失真,有交流聲或無聲,所以一定要通過50歐專用的通信電纜將射頻信號在室外發射。在裝調功率擴展部分射,可以用如圖5所示的射頻檢測器調整各級諧振狀態。將射頻檢測器的輸入端(1k電阻的一端)先接在前級放大三極管的集電極,調整集電極上的電感線圈,使射頻檢測器輸出端的電壓最高,然后按同樣的方法逐級向后級調整,再檢測天線端,最后統調各級電感線圈,使輸出電壓最高,即告完成。與紅外無線耳機相比,調頻立體聲無線耳機的主機(發射機)與接收機之間可以隔著墻壁正常使用,而紅外線耳機則不能。另外,普通紅外線耳機無立體聲功能,所以調頻立體聲無線耳機更適用,欣賞音樂時,更悅耳動聽。若安裝了室外天線,即使很微弱的射頻信號也能傳很遠,所以制作一副良好的天線比單純提高發射功率有效得多。制作一副水平極化、全向發射的天線比較麻煩,且一般的調頻廣播電臺也采用水平極化方式,為了不產生干擾,所以筆者在此為讀者介紹一種組裝簡易,效率較高的垂直極化天線。由于人在移動時用耳機線兼作收音機天線收音時,耳機線是垂直的;汽車收音機的天線也近似垂直,所以垂直極化更適合移動接收。
該天線采用通信機專用的50歐傘狀天線,如圖6所示,天線座上有4根或7根振子,每根長約0.75m,垂直的一根為發射天線的主振子,斜著向下的3根或6根振子共同組成模擬地,它們之間的角度是均勻的,主振子與組成模擬地的各振子之間的角度也按要求固定了,整個天線的阻抗為50歐,10MHz帶寬內增益約2dB,駐波小于1.2。許多場合傳輸的是數字信號,所以可以參考田7的電路,增設幾個元件即可實現發射機的無線數字化傳輸。



